水处理溶氧仪
- 字号 + -
米科LR-DO700溶解氧传感器采用荧光法测量溶解氧,发出的蓝光照射在荧光层上,荧光物质受到激发发出红光,而氧浓度与荧光物质回到基态的时间成反比。采用了该方法测量溶解氧,测量时不会产生氧消耗,数据稳定,性能可靠,不存在干扰,安装和校正简单。
LR-DO700控制器用于显示传感器所测得的数据,用户可以通过控制器的界面配置和校准实现4-20mA模拟输出。可以实现继电器控制及数字通讯等功能。
LR-DO700和LR-DO700组成的测定仪可以实现水中溶解氧浓度的测量。该产品普遍应用于污水厂、自来水厂、水站、地表水、养殖业、工业等领域溶解氧监测。传感器和控制器图如图1、2所示。



图1 LR-DO700溶解氧传感器
1- 测量帽2- 温度传感器
3- 1”NPT4- 快速接头公头
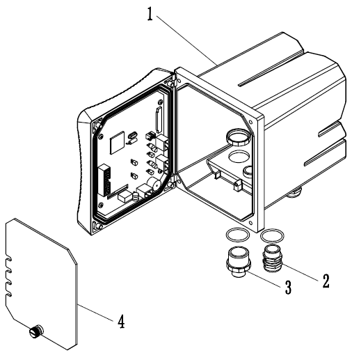
图2 LR-DO700控制器
继电器、输出和信号
控制器配有三个可配置继电器开关和两路模拟输出。
传感器和传感器模块
控制器是单参数控制器可容纳一个传感器。
控制器外壳
控制器外壳具有IP65防护等级。对于户外使用,强烈建议采取防止环境害的防护措施。
1 取出溶解氧传感器,用干净的抹布(质地柔软且表面光洁)清洁传感器。
2 将传感器置于装有适量水(约20-30mL)的校准包中,如图所示

3 用橡皮筋或徒手将传感器密封牢固
4 让仪器数据稳定后(或约10分钟后)再开始校准,同时避免受到阳光的直射。
5 确保传感器的各项设置正确
6 进入相应控制器设置菜单按照Menu﹥探头设置﹥校正﹥空气校准的步骤进行操作。
7 等待数值稳定,按确认键完成校准,若成功会显示新的校正斜率,失败则显示原先的校准斜率。(斜率范围应在0-1.5之间,超出则校准失败需要重新校准)
校准注意事项:
请确保校准包密封牢固
校准时,确保传感器的干燥
确保留出足够长的时间,保证传感器温度稳定在校准包处的温度
标样校准
1 取出溶解氧传感器,用干净的抹布(质地柔软且表面光洁)清洁传感器
2 将传感器放入到溶氧值已知的溶液中(此操作需在无氧环境条件下)
3 进入控制器菜单按照Menu﹥探头设置﹥校正﹥标样校准的步骤进行操作。此时屏幕显示实测值和标液值
4 等待数值稳定后,输入标液值并按下输入键完成校准。
5 取出并擦干传感器
当完成校准时,若校准失败会出现的问题可能有增益过高或过低以及不稳定的情况,解决的方法是重新按照校准步骤进行校准。


